概述:
防护服装材料抗刺穿及动态撕裂性测试仪用于对等使用的材料,对于刃具的扎入、撕破行为的耐冲击特性进行动态评价的试验机。将试样表面与落下的刃具呈垂直方向安装、使安装刃具的重锤由一定距离开始落下,测定由于重锤冲击能量使试样产生的撕破长度,据此评价被试验材料的动态撕破抵抗性。重锤的冲击能量是通过光电感知器测定出重锤落下时间并自动测定出将要冲入试样表面之前的落下速度,通过使用重锤的质量求出运动能
试验原理:
将织物或皮革试样稳固地夹在固定架上,试样主体保持垂直。架子的上部为四分之一圆,便于试样靠在上面,并有一个曲面正对下落到试样的撕裂刀片,撕裂刀片上附加有配重。撕裂刀片末端很锋利,能刺穿试样的曲面部分。刀片圆滑的下半部分能向下撕裂试样的垂直部分,直到消耗完刀片组的全部能量。固定架的垂直面有凹槽,这样,刀片的末端在固定架上而刀片的中部能进行撕裂。
对于十分结实的材料,刺穿过程中由锋利的刀片末端产生的撕裂长度小于5mm。而对于不结实的材料,这种影响就小。选择末点或选择合格值为40mm才能保证测量的主要性能是材料的抗动态撕裂性。撕裂长度是指刀片产生的切口在垂直方向上的尺寸。如果撕裂可能使穿着者受到伤害,就应为试样指定较小的撕裂长度。
技术参数:
序号 | 项目 | |
1 | 控制系统 | PLC控制系统 |
2 | 操作系统 | 7寸彩色触摸屏,中英文切换 |
3 | 试样规格 | 宽:110mm 长:180~200mm |
4 | 落下距离 | (500~750)mm 可调节 |
5 | 重锤质量 | 1)(250±10)g 2)(500±10)g 3)(1000±10)g 4)(2000±10)g |
6 | 下落时间显示 | 0~999ms |
7 | 刀具规格 | 前端刀刃长(10mm±0.1 mm)刀锋(半径0.2 mm±0.1 mm) 刀刃角度(60°±3°) 58HRC 材质:钢 |
8 | 电源电压 | AC220V 50Hz |
9 | 仪器规格 | 600*650*1700mm |
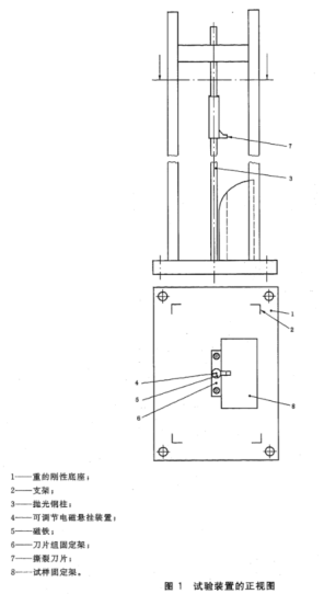
设备介绍
仪器设备主要有试样固定架、撕破用刃具组、冲击能量升降调节模组、控制系统等组成,如下图示意

执行标准:
GB/T 20654-2006/ISO 13995:2000《防护服装 机械性能材料抗刺穿及动态撕裂性的试验方法》
JIS T-8050; IS0 13995 等
配置清单
主机1台;
测试软件1套;
说明书1份;
合格证1份;
保修卡1份;
签收单1份;
铭牌1块;
电源线1根;
扳手:1套
试样安装板:1套
撕破用刃具:1套









客服