手表织物带耐磨仪主要指在织物带上持续运动的磨损试验

执行标准:ICS 39.040.10、ISO 23160:2011,MOD、GB/T 33725—2017、
GB/T 5270 代替 ISO 2819;GB/T 12967.2 代替 ISO 8251;QB/T 2537 代替 ISO 11640;
GB / T38022 — 2019 / ISO1413 : 2016
1、目的
试验的目的是模拟类似手表实际使用条件下,因与衣物摩擦而引起的轻微磨损。
2、试验描述
总则
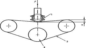
试验装置驱动一个织物摩擦带,按照图3在试验样本上施加压力。
注:图3中张紧轮可上下小幅移动,以自重对织物带起到张紧的作用

说明:
1 样本;
2 织物带;
3—张紧轮。
试验条件
试验条件应如下:
a) 试验样本下压力F:1OO N±5 N;
b) 织物带速度:0.5 m/s;
c) 试验样本下压高度h :15 mm±2 mm;
d) 试验持续时间:3ho
注:试验持续时间也可双方商定。
试验样本
织物带试验可适用于表壳、表带和其他零件镀层的耐磨损试验。
试验前,应按照GB/T 5270和ISO 27874规定的方法检査装饰镀层的附着力。 试验样本应以与织物带平行接触的适当方式放置。
织物带
织物带应具有表4中所示的特性。
表4织物带特性
材料 | 涤纶 |
宽度 | 29.0 mm±2.0 mm |
厚度 | 1.90 mm±0.15 mm |
拆下纱线线密度 | 经向:60 texX4,允许偏差±5% 纬向:28 texX2,允许偏差±5% |
操作步骤
准备的样本,其表面特性与需要评估的表壳体及其附件的表面特性相同(见图4)。
应调整试验样本的高度,使试验样本在下压力100 N±5 N时的下压深度为15 mm±2mmo 试验样本和试验装置应在与校准样块相同的条件下进行准备和清洗。
试验样本应稳固地安装,其被测表面平行于织物带的表面。电机驱动织物带,使其在一个方向上运 动。一个循环后或按照供需双方协议的时间后,检査试验样本的磨损情况。
校准
校准样块的特性应符合表5和图4。
表5校准样块特性
材料 | 不锈钢 022Crl7Nil2Mo2 或 SUS 3161/ |
硬度极限 | 210 HVl±10 HV1 |
粗糙度 | N5 (Ra 0.4 pm) |
a对应不锈钢1.443 5或1.440 4。 | |

">

客服